The 1-1/2" Afghani Tali-Whacker
( -A Pneumatic Potato Cannon- )


ATW External... 3.4k

Parts-

      All pipe and fittings are ABS Sched. 40 BLACK PLASTIC PIPE ONLY, the type used for residential sanitary waste plumbing. DO NOT USE PVC OR ANY OTHER PLASTIC PIPE AS A SUBSTITUTE! PVC and many other plastics are much more brittle than ABS, and could easily shatter and explode into sharp shards during use! Black plastic ABS pipe is more elastic and has much greater impact resistance, and works very well in this design.

Part Qty. Item:

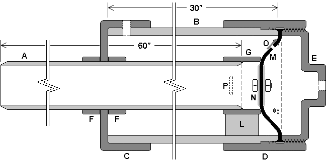
(A) 1 1-1/2" ABS Pipe, approx. 60" long (B) 1 4" ABS Pipe, approx. 30" long (C) 1 4" ABS Pipe Cap (D) 1 4" ABS Female Adaptor (E) 1 4" ABS Cleanout Plug (F,G,H) 3 1-1/2" ABS Coupling (I) 1 2" x 2" x 1-1/2" ABS Reducing Tee (J) 1 1-1/2" ABS Pipe Cap (K) 2 1-1/2" ABS Pipe, approx. 4" long ea. (L) 3 Small sections of scrap 1-1/2" ABS pipe, approx. 1-1/4" x 7/8" ea. (M) 1 Rubber Diaphragm (Wilden Pump and Engineering Co., Backup Neoprene Diaphragm for M1 Pump, P/N TF93B, approx $10.00 ea.) (N) 1 5/16" x 3/4" Bolt, Nut, with (2) 5/16" x 1-1/2" Fender Washers (O) 3 Sections of Bicycle Inner Tube, approx. 1/2" x 5/8" ea. (P) 1 2" or longer Nail, approx. 1/8" dia. (Q) 2 Brass 1/4" NPT x 1/4" Tubing Elbow Compression Fitting (R) 1 1/4" Air Valve (S) 1 1/4" Pneumatic Hose Quick-Disconnect Male Fitting (T) 1 0-100 psi Pressure Gauge, with 1/8" or 1/4" male pipe thread. (U) 1 Laser Pointer (V) 1 2' of 1/4" Polyethylene or Copper Air Tubing ABS Plastic Pipe Cement Silicone RTV Adhesive Teflon Pipe Joint Tape

ATW Internals... 7.8k
(NOTE: Hand Grips not shown in this diagram.)


  (A)     1-1/2" ABS Pipe Barrel. Use a file or sander to bevel the muzzle-end of the barrel to a sharp edge. This will make it easier to pound a potato into the end of the barrel. On the opposite end of the barrel inside the gun, drill two holes on opposite sides of the 1-1/2" pipe within 1/2" of the end so that the Nail (P) can be inserted through the holes across the end of the pipe. Cut off the ends of the nail so that the nail is 1-7/8" long and can be installed flush with the outside diameter of the 1-1/2" pipe. When the 1-1/2" Coupler (G) is glued onto this end, it will secure the nail inside the barrel. This nail across the inside of the pipe will prevent items like potatoes from being pushed too far back out of the barrel.

  (B)     4" ABS Pipe Air Chamber. The 4" Cleanout Plug (E) seals the Rubber Diaphragm (M) against the back end of this 4" Pipe Air Chamber. To do this, the pipe end must be modified to fit deeper than normal inside the 4" Female Adaptor fitting (D). With the 4" cleanout plug screwed all the way into the female adaptor, the end of the 4" pipe must be inserted into the female adaptor to within 1/8" of the inside end of the cleanout plug (to within approximately 1" of the outside end of the female adaptor.) Use a file, belt sander or lathe to remove a band about 3/4" wide by 1/16" deep from around the end of the 4" pipe. You may need to remove more or less, depending on the manufacturer and dimensions of the female adaptor fitting. Only remove enough material from the outside of the pipe to just clear the center ridge inside the female adaptor. Some of the pipe threads inside the female adaptor will also need to be removed, as described in (D) below, so do not remove extra material from the pipe to fit inside these threads. Ensure that this end of the pipe is square and smooth. Then, chamfer another 1/16" from around the end of the 4" pipe, to fit against the outer perimeter of the rubber diaphragm. Once this pipe is glued inside the female adaptor fitting, the cleanout plug will lock the rubber diaphragm tightly against this end of the 4" pipe air chamber.

  (C)     4" Pipe Cap. Cut and file a smooth 1.9" dia hole centered in the end of this 4" pipe cap. When done, the hole should fit snugly over the outside diameter of the 1-1/2" Barrel (A), without any large gaps around the barrel.

  (D)     4" Female Adaptor. This female adaptor must be modified to receive the 4" air chamber pipe and to accommodate the Rubber Diaphragm (M). Use a Dremel tool to remove portions of the pipe threads from the female adaptor, as per the diagram above, in this area. Remove the tips of the threads that interfere with insertion of the pipe, and remove the entire thread from the 1/4" area at the end of the pipe around the diaphragm. Do not remove material any deeper than the thread grooves in this 1/4" area or you will weaken the 4" female adaptor.

  (E)     Drill and tap the outside end of this 4" Cleanout Plug to receive the 1/4" NPT x 1/4" Tubing Elbow Compression Fitting (Q).

  (F)     Cut this 1-1/2" Coupler in half, and file out the inside ridge from the center of the coupler, so the coupler can slide entirely over the outside of the 1-1/2" pipe barrel. The two halves of this coupler are glued onto the barrel on either side of the 4" Pipe Cap (C) to reinforce the barrel hole in the pipe cap.

  (G)     This 1-1/2" Coupler provides a smooth, even sealing surface for the rubber diaphragm against the end of the barrel. If the coupler does not already have one smooth open end (no raised lettering or burrs,) then file one end of the coupler so it is smooth, with no sharp edges. Make sure that the piece of nail (P) is inserted through the end of the barrel and that you have the smooth end of this coupler facing out toward the diaphragm before you cement this coupler onto the barrel.

  (H)     1-1/2" Coupler to support Front Hand Grip Tee (I). File off the inside ridge from the center of the coupler, so the coupler can slide entirely over the outside of the 1-1/2" pipe barrel.

  (I)     2" x 2" x 1-1/2" Reducing Tee for Front Hand Grip (K) and Laser Sight (U).

  (J)     1-1/2" ABS Pipe Cap for Front Hand Grip.

  (K)     1-1/2" ABS Pipe for Front and Rear Hand Grips. Cut to length as desired. File a curvature in one end of the rear hand grip to fit smoothly against the outside curvature of the 4" air chamber. Notch it appropriately to mount the Air Valve (R), Quick-Disconnect Fitting (S) and 1/4" NPT x Tubing Elbow (Q) within the 1-1/2" pipe, with a piece of 1/4" air tubing (copper or polyethylene) running out of a notch on top of the pipe toward the rear.

  (L)     Cut off a 1-1/4" piece of 1-1/2" ABS pipe, and from this cut 3 rectangular segments approx. 1-1/4" x 7/8" each. These will be glued like spokes or fins evenly around the 1-1/2" Coupler (G) to center it within the 4" air chamber. These fins structurally anchor the barrel securely within the chamber, substantially improving the burst resistance of the 4" Pipe Cap (C) that is glued further down the barrel.

  (M)     This is a Rubber Diaphragm from a Wilden M1 pneumatic diaphragm pump. The diaphragm is reinforced neoprene about 1/8" thick, with a larger (1/4" dia.) bead around the outer perimeter. Use a sharp Exacto knife to carefully cut away a portion of the outer rubber bead, leaving a 1/16" to 3/32" wide portion of the bead still attached around the diaphragm. This remaining 1/16" wide lip from the outer bead keeps the diaphragm locked securely between the 4" pipe wall and the cleanout plug, as shown in the diagram above.

  (N)     Insert the 5/16" x 3/4" bolt through one 5/16" x 1-1/2" fender washer and through the center hole in the rubber diaphragm. Smear a little Silicone RTV adhesive around the bolt threads and hole in the diaphragm, add the second fender washer, and secure it tightly with a nut.

  (O)     Install 3 Flap Valves on the diaphragm. These allow air to flow one way, from the air supply valve on the back of the gun forward through the diaphragm to pressurize the air chamber prior to firing. To discharge the gun, the air supply valve releases pressure from the area inside the cleanout plug behind the diaphragm. The flap valves prevent air from escaping from the air chamber rearward through the diaphragm, so the diaphragm collapses toward the rear instead, allowing chamber air pressure to enter the back side of the barrel to launch the potato. Make these three flap valves from some small pieces of old bicycle inner tube or something similar. The flaps should be rectangular, approx. 5/8" x 1/2". Drill three 3/16" dia vent holes in the Rubber Diaphragm (M), evenly spaced around the diaphragm, located approx. 7/8" in from the edge. One face of the rubber diaphragm is labeled "Air Side", and the other face of the diaphragm is smooth, without any lettering. Place a rubber flap over each vent hole on the smooth face of the diaphragm. The natural curvature of the flap should cause it to lay flat against the curved diaphragm. Secure the outer end of each flap to the diaphragm with a needle and some monofilament fishing line. The outer end of the flaps should not interfere with the I.D. of the 4" air chamber pipe.


Assembly-

      Without using any glue, dry-fit the 4" Pipe Cap (C) all the way onto the end of the 4" Air Chamber pipe (B). Fit the 1-1/2" Coupler (G) all the way onto the end of the 1-1/2" barrel. Insert the barrel through the 4" pipe and pipe cap, and continue to push the barrel forward through the pipe cap until the rear face of the 1-1/2" coupler is recessed exactly 3/4" within the rear end of the 4" air chamber pipe. If the barrel is inserted any deeper, the rubber diaphragm might not be able to seal properly against the rear end of the 1-1/2" coupler. Mark the location outside the barrel where the face of the 4" pipe cap meets the barrel, and then disassemble all parts.

      Slide the forward half of the 1-1/2" Split Coupler (F) down the barrel until it is about 1" forward of the mark on the outside of the barrel. Apply ABS Pipe Cement to the area between the coupler and the barrel mark, and slide the coupler over the ABS cement back to the barrel mark, so the rear face of the coupler half sits just on the mark. Give this a minute to set, then apply a little more ABS cement to the rear of the coupler and slide the 4" pipe cap from the rear of the barrel forward up against the split coupler. Apply more ABS cement around the barrel inside the 4" pipe cap, and slide the rear half of the Split Coupler (F) forward on the barrel up against the inside of the pipe cap.

      Insert the 1-7/8" piece of nail through the holes across the inside end of the barrel. Then, cement the 4" Air Chamber pipe (B) inside the 4" pipe cap. Support the barrel and air chamber so that the end of the barrel is centered within the air chamber, and allow the cement to dry for an hour.

      Cement the 1-1/2" Coupler (G) (smooth face out) onto the back end of the barrel, making sure that the outside face of the coupler is recessed 3/4" within the end of the 4" air chamber pipe. Then, without getting any ABS pipe cement on the open end of the coupler or the end of the 4" air chamber pipe, cement the three fins (P) evenly spaced around the coupler and to the inside of the 4" pipe. Then, cement the 4" Female Adapter (D) onto the end of the air chamber pipe so the end of the 4" pipe is recessed approx. 1" within the end of the female adaptor. Avoid getting glue on the pipe threads and on the pipe end inside the recessed area for the rubber diaphragm. Let the ABS cement dry overnight.

      To install the front hand grip parts, file the front of the 1-1/2" Split Coupler (F) and/or the inside of the Reducing Tee (I) as necessary so that the reducing tee will fit over the split coupler, flat against the face of the 4" pipe cap. Cut the Front Handle (K) to the desired length and glue it to the Pipe Cap (J) and the reducing tee. Drill suitable holes in the reducing tee and handle for the Laser Pointer (U), aligned with the barrel. Glue the reducing tee over the split coupler and to the face of the 4" pipe cap, then glue the 1-1/2" Coupler (H) over the barrel inside the reducing tee to anchor the tee around the barrel. Drill and tap the top side of the 4" pipe cap for the Pressure Gauge (T).

      Assemble the 1/4" NPT x 1/4" Tubing Elbow, Air Valve and Quick-Disconnect fittings (Q, R, S) with Teflon pipe tape. Cut or notch the Rear Hand Grip (K) as necessary so this air valve assembly may be installed in the hand grip with the valve handle sticking out. Use pieces of scrap ABS pipe and cement to mount the air valve assembly within the rear hand grip pipe with the 1/4" Air Tubing (V) running out of a notch on top of the pipe toward the rear of the gun. Use ABS cement to glue this rear hand grip assembly to the bottom of the air chamber pipe.

      Spread a bead of Silicone RTV adhesive around into the recessed area inside the female adaptor where the Diaphragm (M) will sit. Grab the 5/16" nut inside the diaphragm with a pair of Vise-Grips or pliars and use them to push the diaphragm, smooth face and flap checks in, into the 4" female adaptor against the silicone RTV and 4" pipe end. Seat the diaphragm evenly all the way around into the 1/4" groove inside the female adaptor.

      Make sure that the 4" female adaptor and cleanout plug pipe threads are clean. Wrap the pipe threads on the 4" cleanout plug with several wraps of Teflon pipe tape and tighten the plug securely into the female adaptor so that it presses tightly against the rubber diaphragm. Allow the silicone RTV to cure for several days (it wouldn't hurt to blow a little fresh air down the barrel once or twice a day to help it cure) before you ever pressurize the gun.

      Use Teflon pipe tape to connect the 1/4" NPT x 1/4" Tubing Elbow (Q) to the back of the 4" Cleanout Plug (E), and the Pressure Gauge (T) into the top side of the 4" pipe cap. Cut the 1/4" Air Tubing (V) to length and connect it to the 1/4" tubing elbow. The gun is now ready for pressure testing.


Testing the Gun-

      It's a good idea to test the integrity of your gun at a maximum air pressure at least 50% higher than you ever intend to use. I tested mine to 120 psig, but never fire it above 75 or 80 psig. To test the gun I connected it to a (depressurized) air hose with the gun's air valve open and placed the unloaded gun (no potato) on the ground outside the building. I then connected the air hose to a compressor inside the building and pressurized the air hose and gun to 120 psig. I let it sit for a few minutes just to make sure, then bled off the air pressure out of the hose inside the building. If you bleed the air pressure off slowly, and there is no potato inside the barrel, then the diaphragm inside the gun will tend to let the chamber air pressure leak gently out of the barrel. If you bleed the air pressure off too fast, the gun will discharge loudly.

      Inspect your gun to make sure you didn't overstress it. Look for any distended areas or white fatigue (stretch) marks on the black ABS plastic. If there are any, throw your gun away and start over.


Firing the Gun-

  1.     Point the gun in a safe direction and open the Air Valve (R) to release any remaining air pressure from inside the gun.

  2.     Pound a potato into the beveled end of the barrel. The potato core should fit tightly inside the barrel with no obvious air gaps. Use a broom handle or something similar to ram the potato core all the way inside to the back of the barrel against the nail stop.

  3.     Close the air valve, then connect a compressed air hose to the quick-disconnect fitting.

  4.     Point the gun in a safe direction, watch the air chamber pressure gauge and slowly open the air valve. When you start to pressurize the gun, the air pressure behind the diaphragm (M) will force the diaphragm to seal against the rear of the barrel, while the air continues to bleed through the flap valves (O) to pressurize the inside of the air chamber. Close the air valve when you have charged the air chamber to the desired pressure.

      CAUTION: Once the air chamber begins to pressurize, any sudden release of pressure from behind the diaphragm out of the gun, intentional or accidental, will cause the gun to immediately discharge, firing the potato in whatever direction the gun happens to be pointed!

  5.     Point the gun in a safe direction and disconnect the compressed air hose from the gun.

  6.     Open the air valve to fire the gun. The open air valve will dump the air pressure from behind the diaphragm, while the flap valves (O) prevent the air chamber from also depressurizing. When the pressure behind the diaphragm is sufficiently reduced, the air chamber pressure in front of the diaphragm will pop the diaphragm away from the back side of the barrel. This allows the chamber air to suddenly pressurize the barrel behind the potato, launching the potato rapidly out of the barrel.


Actual Shooting Results-

      A table of actual firing results using 3" long potatoes is shown below. "Pressure" is the chamber air pressure in psi, and "Muzzle Velocity" is how fast the potato will travel out of the barrel at that pressure. "Max. Height" is how high the potato would go if you fire it straight up into the air at that pressure. "Max. Distance" is how far the potato will travel horizontally if you fire it at a 45 degree elevation at that pressure.

Pressure
(psi)
Muzzle Velocity
(ft/sec) - (mph)
Max. Height
(ft)
Max. Distance
(yrds)
20 101 - 69 157 105
40 149 - 101 344 229
60 173 - 118 465 310
80 184 - 126 527 352
100 190 - 129 560 373

      As you can see from the above table, at 60 psi, this gun will shoot a 3" potato plug about 310 yards. At 70 psi, this gun will shoot about 500 feet straight up or 1,000 feet horizontally. It is definitely dangerous at high pressures. Notice that the gun is most efficient at lower pressures, say 60 psi and below. At greater pressures the gun will only shoot a little further.

      Have fun and shoot safely!


Last Updated: November 28, 2001
Send Mail to: pete@swanstrom.net
Return to: | Shooting Projects | Pete's Home Page |